关于「IPCloak」
专业的广告流量过滤平台,IP+SMS+Pay,过滤+短信+支付
IPCloak 是一款专业的广告流量过滤平台,旨在保护真实落地页链接,减少欺诈性流量,提升潜在客户的质量与 ROI。其技术团队致力于为海外广告投手提供必备的工具。平台每天监控数百万次访问,为全球数以千计的客户提供服务。通过海量 IP 数据、高效筛选流量、用户行为识别和硬件指纹等手段,IPCloak 不断升级识别算法,自动化保护用户的落地页,持续提升服务水平。
IPCloak 拥有独家的 Cloaking 技术,与国内的 cloak 产品相比,IPCloak.com 提供更多优势。除了判断 IP、设备等参数外,它采用了最新的硬件指纹识别,并且提供后台即时操作控制面板,甚至支持远程更新 cloak 的代码版本。这一次安装将带来长期的受益。IPCloak 还可实时检测访问流量,进行过滤规则测试,以确保 cloak 效果更为优异。

使用 IPCloak 可以获得什么?
地理位置过滤: 通过地理位置过滤功能,IPCloak 允许根据访客的地理位置(城市、州、国家等)来过滤流量,从而更精准地针对目标受众进行广告投放。这种定位功能能够帮助广告主更有效地定位受众,提高广告投放的精准性和效果。
黑名单,防同行抄袭: IPCloak 提供黑名单功能,用于防止同行抄袭。它能识别正常访客并显示真实页面,而对于非法访客则显示另一个桥页。这有助于保护广告主的原创内容和广告创意,防止竞争对手的抄袭行为,维护品牌形象和竞争优势。
屏蔽爬虫和 SPY 工具: 该平台能够屏蔽爬虫和 SPY 工具,有效阻止竞争对手、欺诈者或其他恶意行为者窥探或复制你的产品和广告创意、素材。这种屏蔽功能有助于保护品牌信息和商业机密,确保广告投放的独特性和原创性。
屏蔽伪装身份的欺诈访客: IPCloak 能够快速识别并实时标记伪装身份的可疑访客,有效地过滤出潜在的欺诈性访客。这有助于减少欺诈行为对广告投放效果的负面影响,保护广告主的广告预算和营销利益。
关于 IPCloak 的定价
IPCloak 提供多个套餐,以满足不同业务规模的需求。从小密圈初级套餐到高级套餐,价格实惠,性价比极高。这些套餐价格分别为每月 1 元、2 元和 3 元,限制每天 IP 访问量在 5 千到 5 万不等,且均不限制网站数量。作为国内第一家原创 cloak 开发团队,IPCloak 坚持自主原创核心算法,与开发者深度对接,若对接不成可获全额退款。

IPCloak 的适用人群
IPCloak 适用于各类海外广告投放者,尤其适合那些希望提高潜在客户质量和ROI、减少欺诈性流量的业务。
海外广告投手: 需要提高潜在客户质量和 ROI 的广告投手,致力于减少欺诈性流量。
小规模业务者: 想要保护真实的落地页链接,提升流量质量的小规模业务者。
开发者: 需要与 cloak 系统深度对接的开发者,寻求高性价比的原创算法。
技术专业团队: 寻求自主原创核心算法,以及对 cloak 效果进行实时检测和优化的团队。
网站管理员: 想要提升广告流量质量和保护网站链接的管理员。
在线营销人员: 寻求有效的广告过滤平台,以提高营销广告效果和减少欺诈流量的营销人员。
其他信息
查看更多运营服务工具:查看
查看更多优质广告工具:查看
图片
功能亮点
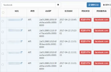
可实时设置和使用黑名单,拦截Spy工具、竞争对手、代理/VPN客户、爬虫等不受欢迎的流量。
最佳备选方案
Top Rated Alternatives
51.LA4.7易用、专业的网站数据统计与营销分析平台
Diffshop4.7社媒广告一站式数据监控及选品
AdSpy4.7世界最大的Facebook和Instagram广告搜索数据库查询之一
Revealbot4.714天免费试用,无需信用卡,自动执行您的广告管理例程,以便您可以专注于更快地取得成果
PPC Entourage4.67天免费试用,轻松优化和扩展您的亚马逊广告,支持所有类型的亚马逊AD,无需复杂的电子表格
为 IPCloak 打分
您的评分和反馈非常重要,来反馈一下您的感受吧~






